截止目前,南京暂未将试管费用纳入医保报销范畴,不过目前北京地区已经出台相关的政策,有小道消息称,如果北京施行政策无压力,那么南京试管费用也会即将纳入医保报销范畴,纳入后辅助生殖定点机构基本就是那些公立医院,例如江苏省人民医院、鼓楼医院、南京妇幼等等。
南京试管是否纳入医保
南京作为江苏省省会城市,也是新一线城市之一,其医疗技术在全国都是名列前茅的,当地开展辅助生殖技术的医院数量众多,每年前往南京治疗不孕助孕的人群也不在少数。目前南京有8家辅助生殖机构,像江苏省人民医院、南京鼓楼医院、东部战区总医院、南京市妇幼保健院都同时开展有夫精人工授精、供精人工授精、一代试管、二代试管、三代试管技术。在帮助不孕患者的同时,高额的试管费用也让很多家庭难以承受,辅助生殖纳入医保是很多不孕患者的福音。

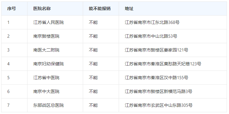
南京辅助生殖定点医保机构一览
南京市一共有7家医院经过批准具有开展辅助生殖技术的资质,如江苏省人民医院、南京鼓楼医院、东部战区总医院、南京市妇幼保健院、南京医科大学第二附属医院等。虽然说南京能开展辅助生殖技术的机构不少,但费用能否报销还是一个未知数,以下为南京具体的试管医院名单,可查看对应医院做试管能否医保报销:

试管技术的成功率普遍是在50%左右,并且成功率跟医院医生的技术和个人的身体素质及年龄都是有关系的,虽然一些身体条件好的人做试管可以达到60%的成功率,但也不乏有些身体不好的做试管会失败,而试管失败进行二次就需要重新给一次钱,这样一来费用就高了,因此想要在做试管的时候不多花钱,一定要提前调整状态。

南京试管报销热门问题答疑
不管在南京还是在国内其他医院做试管,都无法保证一次成功,很多女性需要移植两三次才能怀孕,如此这般就导致了辅助生殖费用更加昂贵,试管费用若能纳入医保自然能够为患者减轻不小的负担。以下是关于“南京试管什么时候纳入医保”的详细答疑。
Q:在南京做试管可以用医保报销吗?
A:试管的费用是不能报销的,因为不在健康保险的范围内,所以需要患者自行承担。如果购买了生育保险或医疗保险,在住院期间试管可以按比例报销,还有就是做试管的费用也可以用医保卡里的钱,但对于报销的话,目前就只有北京实行了相关政策,南京还没有将试管技术纳入医保。
Q:试管的报销比例是怎么样的?
A:北京将于3月26日正式落实试管在内的辅助技术纳入医保的问题,而报销比例的情况需要了解到甲类是社保中报销比例最高的,所以根据一些数据情况来看,按照单周期平均花费为3.5-4.5万元初步预计医保可以覆盖8000-11000元,按中位数计算,医保报销费用约占单周期治疗费用23%。
Q:南京人去北京做试管能报销费用吗?
A:是不能的,虽然北京将试管技术在内的16想辅助生殖技术纳入了医保,但其中也说到了是纳入“北京”医保,因此外地人前往做试管自然是不能享受医保报销的。
南京试管网友观点
试管能纳入医保对各地计划做试管的不孕患者来说无疑是一个天大的好消息,听到这个好消息,全国各地的姐妹纷纷感慨,终于看到希望了,以下是各地网友观点:








