最新的重庆人工授精收费标准出炉,公立三甲医院费用在8000元-13000元不等。目前重庆市内共有可开展人工授精的医院共有10余家,每家的费用相差并不大,以西南医院为例,在这里做一例夫精人工授精费用在8000左右,供精人工授精费用会高一些,通常在10000元左右。
重庆人工授精收费标准
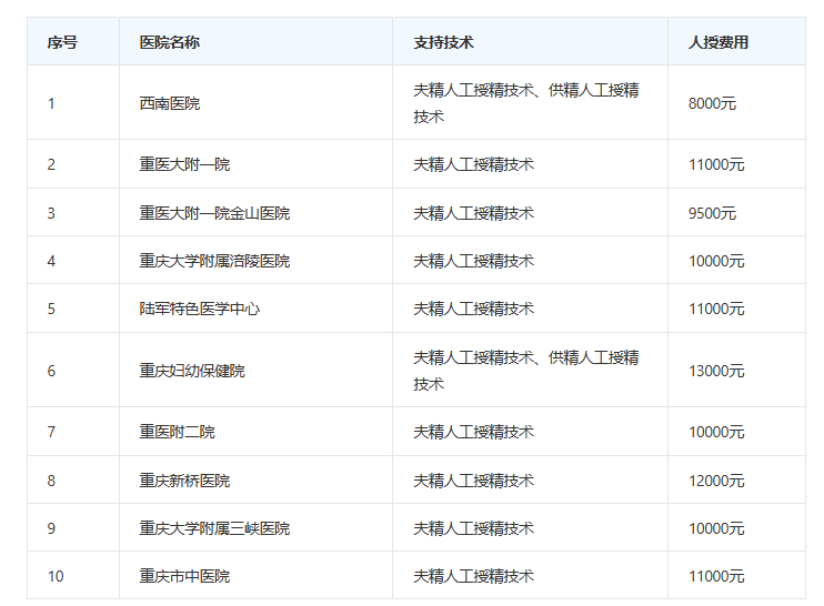
重庆开展了人工授精技术的医院不少于十家,而每家医院做人授的费用也可能存在差别,比较每家人授医院的收费标准不一样,据统计,重庆热门医院人工授精收费标准参考如下:

在重庆选择人工授精医院,不能仅仅从价格来对比,需要结合多个方面综合比较,比如人授的成功率、医院的医资力量以及其他患者的评价等,这样才能抉择出适合自己的重庆人工授精医院。
重庆人工授精费用明细
人工授精的费用是按照周期来计算的,在重庆正规的医院生殖医学中心费用都差不多,一周期夫精人工受精花费约8000元左右。这里的费用并不只是简单的一次手术或者检查的费用,而是一个周期的花费。
人工授精的费用大致分两阶段,一是周期前的检查费用,一是进周期后的治疗费用,包括夫妻双方完成全套检查(不含特殊治疗,如宫腹腔镜检查及治疗、输卵管造影等)约3000元,夫精人工授精手术费用800元/次,B超监测卵泡及药品费用另外计算,具体的花费会因为每个患者的个体差异有所不同,如果需要药物促排费用会有所增加。如果第一个周期未成功,进入下个周期只需手术费用、精液常规检查、B超监测及药品费用。
人工授精多少钱
人工授精到底花多少钱与个人情况也密不可分的,有的人情况简单费用会低一些,有的人情况复杂一些或是多次实施手术,费用自然会贵一些,以下是网友分享的重庆人授花费情况
要想降低重庆人授的费用,那就得知道怎么提高人工授精成功率,只有保证一次成功,才能减少花费,我虽然不是一次成功,但花的钱也不多,总共9000左右,不到万元,可以接受。
倚辞君颜
丈夫弱精症,备孕很久都没怀上,本来感觉供精人授成功率高,但重庆本地的医院不能做,而且医生说可以用自己丈夫的精子,大概调理了1个月左右,我们就做了人授,并且一次成功,从开始治疗到手术怀上,共花了1万5左右。
一折画纸扇
我就在重庆做的人工授精,因为想怀双胞胎,以为双胞胎人工授精的费用会很贵,没想到居然和单胎是一样的,我花了1万不到就喜获双胞胎儿子,觉得非常值得。







